继电器是一种电控制器件。它具有控制系统(又称输入回路)和被控制系统(又称输出回路)之间的互动关系。通常应用于自动化的控制电路中,它实际上是用小电流去控制大电流运作的一种“自动开关”。故在电路中起着自动调节、安全保护、转换电路等作用。电磁继电器一般由铁芯、线圈、衔铁、触点簧片等组成的。只要在线圈两端加上一定的电压,线圈中就会流过一定的电流,从而产生电磁效应,衔铁就会在电磁力吸引的作用下克服返回弹簧的拉力吸向铁芯,从而带动衔铁的动触点与静触点(常开触点)吸合。
无极性继电器的线圈没有方向,可以随意接,都能使继电器结点动作。有极性继电器的线圈有方向,不能随便接。有极性继电器的线圈中有磁铁用于助力,所以驱动能量比较小。松下的有极性继电器一般200mW的就可驱动,普通的无极性继电器一般都要500mW以上。
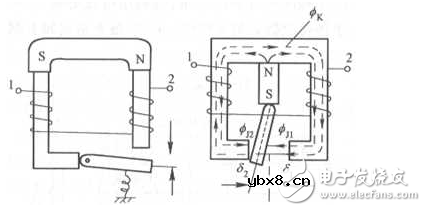
有极继电器(polarized relay)直流有极继电器。简称有极继电器。这种继电器具有反映外来输入信号电极(正负极)方向的功能。
主要特点:
①在继电器的磁路结构中有永久磁铁或起永久磁铁作用的局部线圈。
②继电器衔铁动作受2 个独立的磁系统控制:一是由输入线圈电流产生的电磁系统控制,它所产生的磁通称为控制磁通φk;二是由永久磁铁所产生的永磁系统控制,其所形成磁通称为极化磁通φj。
③灵敏度高,有极继电器只需较少的安匝值就能动作。例如:有的动作安匝为1~4,而无极继电器一般需要50~200安匝。
④动作时间较快,最快的有极继电器只需要1~2ms, 甚至更少。而无极继电器则需要10~100ms,有些大型继电器动作时间还要慢些。
类型
有机继电器的结构形式多种多样,一般按磁路结构来分类,可分为串联式、并联式(或称差接式)和桥式3 种,见下图。

(a) (b)

(a′) (b′)

(c) (d)

(c′) (d′)
有极继电器磁路结构及等效电路图
相序继电器工作原理的全面介绍
时间:2026-03-06
热保护器的工作原理解析
时间:2026-03-06
热敏干簧继电器是什么
时间:2026-03-06
电动机保护元件:热继电器的三种过载保护形...
时间:2026-03-06
电磁型电流继电器的动作条件
时间:2026-03-06
继电器PLC和晶体管PLC区别
时间:2026-03-06
场效应管时间继电器是怎样工作的?
时间:2026-03-06
电路板式继电器
时间:2026-03-06
继电器电路故障
时间:2026-03-06
继电器的作用及触点故障处理方法
时间:2026-03-06
玻璃釉电容器的结构与特点
时间:2026-03-05
关于STM32WL LSE 添加反馈电阻后无法起振的...
时间:2026-03-05
电阻的标称阻值和允许偏差
时间:2026-03-05
LED固晶机龙头直面“寒冬”
时间:2026-03-05
浅谈高压贴片电容分类与性能参数
时间:2026-03-05
聚四氟乙烯电容器的结构与特点
时间:2026-03-05
漆膜电容器的结构与特点
时间:2026-03-05
复合介质电容器的结构与特点
时间:2026-03-05
瓷介电容器的结构与特点
时间:2026-03-05
电解电容器的结构与特点
时间:2026-03-05